Accueil > Réalité virtuelle & augmentée > Google prépare de nouvelles lentilles connectées
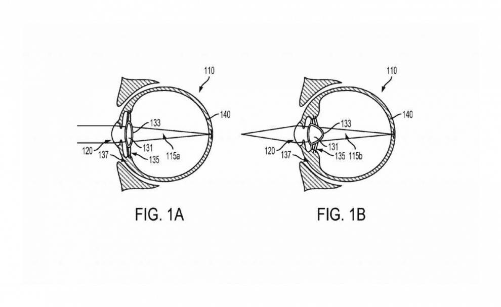
Une image du brevet
Marché Réalité virtuelle & augmentée

Google prépare de nouvelles lentilles connectées

Alphabet croit en l’internet des objets et travaille en ce moment même à concevoir des lentilles connectées alimentées à l’énergie solaire. Le géant de Mountain View n’en a apparemment pas terminé avec ce projet, puisqu’un brevet portant sur une technologie intraoculaire vient d’être déposé à son nom.

Ce nouveau prototype possède en effet la qualité remarquable d’être implanté directement à l’intérieur du globe oculaire de son utilisateur ! Logée dans son œil, la lentille sera ainsi capable de fournir différentes informations grâce à des capteurs, une puce réseau, du stockage ainsi qu’une batterie ! Cette dernière se recharge d’ailleurs directement en puisant dans l’énergie du corps de son porteur -on ne sait malheureusement pas encore comment-. Évidemment, un élément sera chargé de corriger la vision tout en se mettant à jour au fil du temps pour s’adapter parfaitement en fonction de l’évolution de l’œil. De plus, l’ensemble du gadget serait initialement sous forme liquide, et se solidifierait au contact du cristallin !

Cet outil permettrait d’améliorer la vue de certains patients -le premier concept, lui, est destiné aux diabétiques– et devrait proposer tout un tas de fonctionnalités innovantes, dont on espère évidemment de la diffusion de contenu en réalité augmentée. Sans compter tout ce qui peut arriver d’un smartphone ou de n’importe quel objet connecté, car cette lentille l’est aussi, connectée.

L’appareil vient tout droit des laboratoires de Verily, la start-up d’Alphabet qui se concentre sur des expériences en matière de recherche à propos des sciences de la vie et qui est issue du complexe X (anciennement Google X) qui avait notamment donné naissance à la Google Car… Et aux Glass.

L’oeil bionique arrive !

À propos de l'auteur

Valentin

Ajouter un commentaire

Cliquez ici pour poster un commentaire